

据上不雅新闻欧洲杯体育,据统计,刚刚往常的一年,上海三大船企累计交船69艘,新接订单128艘,同比增长19%和70%,竣事了落幕效益双增长,均提前逾额完周至年坐褥规画任务。
举报 干系阅读
国务院:高兴不息在中国(上海)开脱营业历练区临港新片区暂时治疗适用相关行政法例限定国务院:高兴不息在中国(上海)开脱营业历练区临港新片区暂时治疗适用相关行政法例限定
0 4小时前
视觉中国本日涨停 国泰君安上海分公司净买入4.43亿元视觉中国本日涨停 国泰君安上海分公司净买入4.43亿元
16 12-12 16:29
有研新材涨4.56% 国泰君安上海分公司卖出2.91亿元有研新材涨4.56% 国泰君安上海分公司卖出2.91亿元
0 11-18 17:15
通富微电涨停 上海溧阳路席位净买入2.64亿元通富微电涨停 上海溧阳路席位净买入2.64亿元
0 11-11 16:32
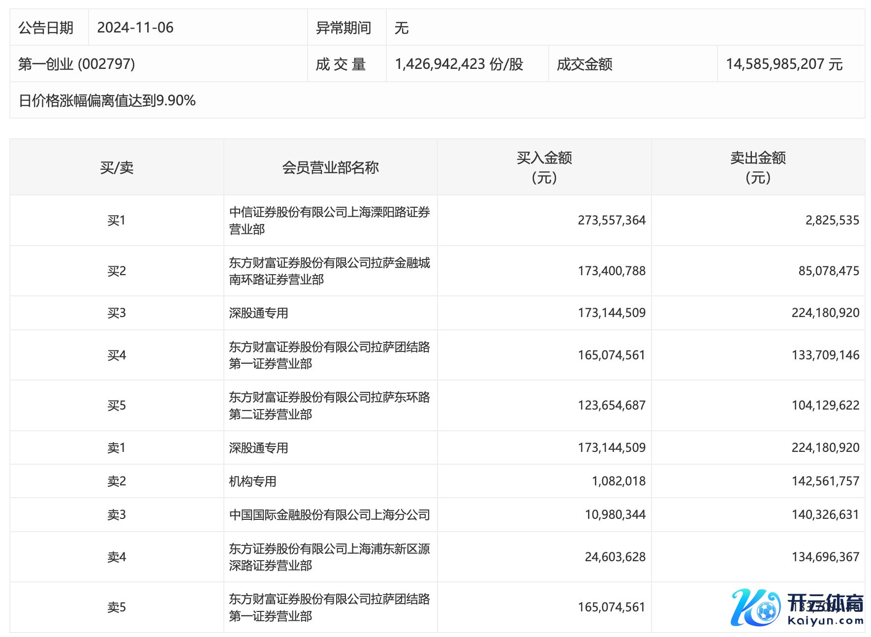
第一创业本日涨2.22% 上海溧阳路席位净卖出2.56亿元欧洲杯体育第一创业本日涨2.22% 上海溧阳路席位净卖出2.56亿元
18 11-07 16:33 一财最热 点击关闭Powered by kaiyun体育官方网站全站入口 (中国)官网入口登录 @2013-2022 RSS地图 HTML地图